We have read with great interest the article by Sugiyama et al1 published in the November 2017 edition of the American Journal of Neuroradiology, which described typical brain MR imaging findings in adult-onset neuronal intranuclear inclusion disease (NIID). The authors highlighted the paravermal signal changes on FLAIR sequences as well as the high-intensity signal on DWI along the corticomedullary junction as typical neuroimaging findings in NIID.
According to Sone et al,2 who described clinical features, MR imaging findings, and pathologic features in a larger series of 57 patients with adult-onset NIID, the pathophysiology of fragile X–associated tremor/ataxia syndrome (FXTAS) and NIID overlaps, and it is not reliable for distinguishing both disorders based on either clinical presentation, imaging findings, or family history. Moreover, pathologic changes are also similar because FXTAS and NIID usually present with intranuclear eosinophilic inclusions. The study of Sugiyama et al1 did not evaluate the CGG repeat length of the FMR1 gene in their patients, which is a crucial step to support their conclusions. When we reviewed our institutional records, 3 recent patients were clinically evaluated and genetic studies confirmed FXTAS. Most interesting, our 3 patients with FXTAS presented with imaging findings (Figs 1 and 2) very similar to the those in patients described by Sugiyama et al, whose diagnoses were NIID.
Representative case (patient 1). A 49-year-old male patient with a genetically confirmed diagnosis of FXTAS (CGG 115). Coronal (A) and sagittal (B) FLAIR images demonstrate cerebellar atrophy and a high signal intensity in the paravermal area (arrows). C, DWI shows abnormal high-intensity signal along the corticomedullary junction (arrowheads).
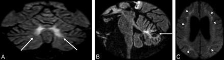
Representative case (patient 2). A 69-year-old male patient with slowly progressive ataxia, tremor, and paraparesis. Axial FLAIR image (A) shows bilateral abnormal high signal intensity in the middle cerebellar peduncles (arrows). Axial DWI (b = 1000 s/mm2) (B) image depicts similar signal changes along the corticomedullary junction (arrowheads). Genetic investigation showed 100 CGG repetition (premutation) of the FMR1 gene, which confirmed FXTAS.
Research in neuroradiology must concentrate on predicting specific neurologic disorders, identifying either radiophenotypes and/or useful algorithms for clinical practice. Considering that FXTAS seems to be more common than adult-onset NIID, it is reasonable that the algorithm using genetic studies (FMR1 gene premutation) proposed by Sone et al2 remains unpredictable because the pathologic changes and the imaging findings reported by Sugiyama et al1 may occur in both disorders.
Footnotes
Disclosures: Orlando G.P. Barsottini—UNRELATED: Employment: Federal University of Sao Paulo, Brazil, Comments: Professor of Neurology.
References
- © 2018 by American Journal of Neuroradiology









